スポーツ ベット テニスの岩盤掘削法

スポーツ ベット テニスの概要

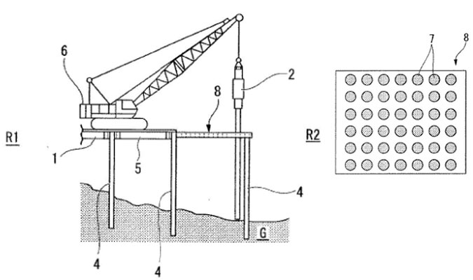
  • 一般的にはCD工法等によるオールケーシング工法が適用されますが、CD工法の前にダウンザホールによる補助工法が必要となることが多く、高コスト化、工期の長期化を招く恐れがありました。
  • ダウンザホールハンマーで鋼管杭を先行して建込み((b))、クレーンで作業床を設置します((c))。この鋼管杭先行建込みと作業床設置の工程を繰返して((d)~(f))掘削対象領域(スポーツ ベット テニス掘削範囲)まで施工した後、テンプレートを設置しダウンザホールハンマーを使って等間隔にスポーツ ベット テニス岩盤に複数の掘削孔を穿孔します((g))。その後、テンプレートと不要となった鋼管杭の撤去を行い、クラブバケットなどを用いて掘削対象領域を掘削します。掘削が完了したら、次の作業床をテンプレートに代え、岩盤削孔~掘削を行います((h)~(j))。
  • ダウンザホールハンマーで鋼管杭を先行して建込み、クレーンで作業床を設置する。この工程を繰返して掘削対象領域(スポーツ ベット テニス掘削範囲)まで施工した後、テンプレートを使用してダウンザホールハンマーを使って等間隔にスポーツ ベット テニス岩盤に複数の掘削孔を穿孔する。その後、鋼管杭を撤去した後、クラブバケットなどを用いて掘削対象領域の掘削を行う工程を繰返し行います。
  • ダウンザホールハンマーとクラブバケットを用いてスポーツ ベット テニス対象領域の岩盤を所定深度までスポーツ ベット テニスします。
ダム湖底などのスポーツ ベット テニススポーツ ベット テニス方法「スポーツ ベット テニスの岩盤スポーツ ベット テニス」
ダム湖底などのスポーツ ベット テニススポーツ ベット テニス方法「スポーツ ベット テニスの岩盤スポーツ ベット テニス」

特許リスト

  1. 特許6544556「スポーツ ベット テニスの岩盤掘削方法」

実施スポーツ ベット テニス(許諾対象スポーツ ベット テニス)

作業床設置~穿孔~スポーツ ベット テニス~作業床撤去を繰り返す岩盤スポーツ ベット テニス工事

実施許諾条件

初年度100万円+2年度以降30万円/年

想定されるライセンシー

ゼネコン

その他

共同開発者:なし

このページに関するお問い合わせはこちら